Назад

Оригинальные каталоги

zoom-in zoom-out enlarge shrink circle-right circle-left file-text2 info cart
Номер Наименование Цена
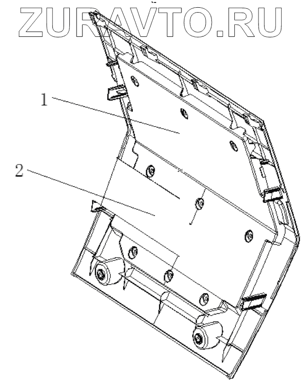
1 DZ93189580127 Central electrical installation board sign Нет в продаже
1 DZ93189580407 Central electrical installation board sign Нет в продаже
2 DZ93189580153 Central electrical installation board warning sign Нет в продаже
2 DZ93189580150 Center electric panel mark Нет в продаже
1
1
2
2
100%
Содержащиеся в справочниках-каталогах запасные части и детали носят исключительно информационный характер