Назад

Оригинальные каталоги

zoom-in zoom-out enlarge shrink circle-right circle-left file-text2 info cart
Номер Наименование Цена
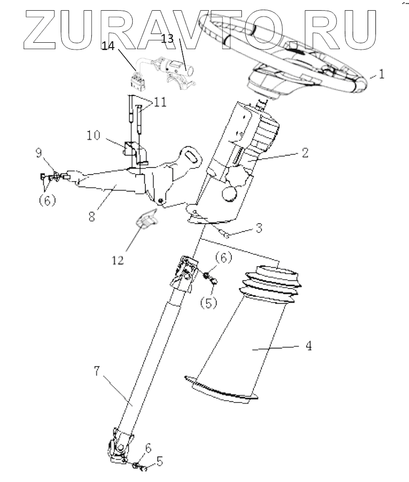
81.46136.0013 81.46136.0013 Contact ring Нет в продаже
Q40110T16F9 Q40110T16F9 Washer Нет в продаже
Q40110 Q40110 Шайба Нет в продаже
1 SZ946000718 Handl wheel Нет в продаже
2 DZ93189470038 Steering column assy Нет в продаже
3 81.91020.2289 Палец Нет в продаже
4 DZ93189470035 Steering column jacket Нет в продаже
5 199012470051 Анкер болта Нет в продаже
6 Q33210 Гайка Нет в продаже
7 SZ946000001 Steering flex shaft assy Нет в продаже
8 81.46440.5073 Упор колонки Нет в продаже
9 81.97487.0225 Пластина соединения Нет в продаже
10 DZ95189460401 Fix bracket Нет в продаже
11 Q150B1075 Болт Нет в продаже
12 06.43839.0067 Clip Нет в продаже
13 SZ946000701 Ignition switch Нет в продаже
14 SZ946000702 Wiring harness Нет в продаже
81.46136.0013
Q40110T16F9
Q40110T16F9
Q40110
1
2
3
4
5
5
6
6
6
7
8
9
10
11
12
13
14
100%
Содержащиеся в справочниках-каталогах запасные части и детали носят исключительно информационный характер