Назад

Оригинальные каталоги

zoom-in zoom-out enlarge shrink circle-right circle-left file-text2 info cart
Номер Наименование Цена
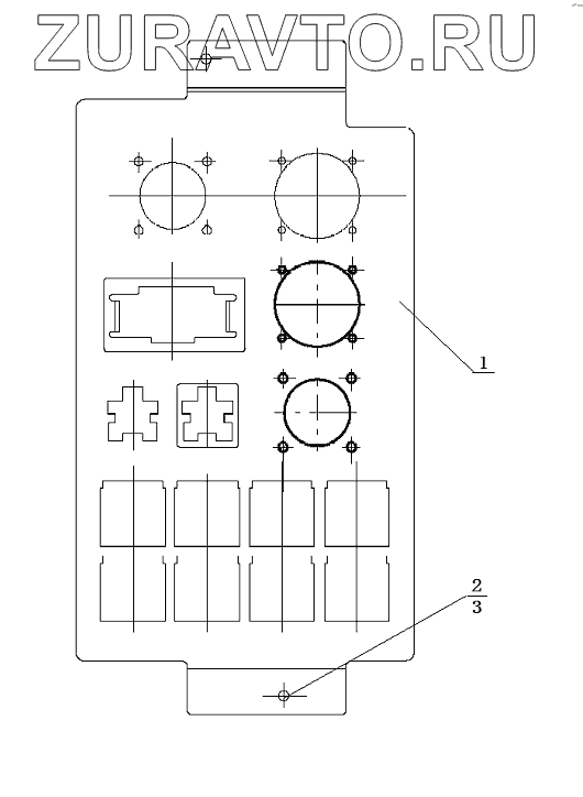
1 DZ93189582002 Diagnosis panel Нет в продаже
2 Q2204213 Винт Нет в продаже
3 06.13189.0012 Гайка SТ4,2-2-А3С Нет в продаже
1
2
3
100%
Содержащиеся в справочниках-каталогах запасные части и детали носят исключительно информационный характер