Оригинальные каталоги
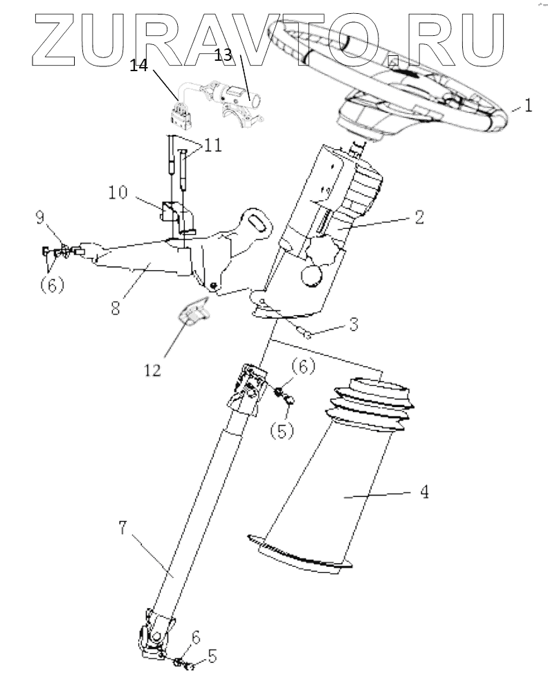
| № | Номер | Наименование | Цена | |
|---|---|---|---|---|
| 81.46136.0013 | 81.46136.0013 | Contact ring | Нет в продаже |
|
| Q40110T16F9 | Q40110T16F9 | Washer | Нет в продаже |
|
| Q40110 | Q40110 | Шайба | Нет в продаже |
|
| 1 | SZ946000718 | Handl wheel | Нет в продаже |
|
| 2 | DZ93189470038 | Steering column assy | Нет в продаже |
|
| 3 | 81.91020.2289 | Палец | Нет в продаже |
|
| 4 | DZ93189470035 | Steering column jacket | Нет в продаже |
|
| 5 | 199012470051 | Анкер болта | Нет в продаже |
|
| 6 | Q33210 | Гайка | Нет в продаже |
|
| 7 | SZ946000001 | Steering flex shaft assy | Нет в продаже |
|
| 8 | 81.46440.5073 | Упор колонки | Нет в продаже |
|
| 9 | 81.97487.0225 | Пластина соединения | Нет в продаже |
|
| 10 | DZ95189460401 | Fix bracket | Нет в продаже |
|
| 11 | Q150B1075 | Болт | Нет в продаже |
|
| 12 | 06.43839.0067 | Clip | Нет в продаже |
|
| 13 | SZ946000701 | Ignition switch | Нет в продаже |
|
| 14 | SZ946000702 | Wiring harness | Нет в продаже |
|
81.46136.0013
Q40110T16F9
Q40110T16F9
Q40110
1
2
3
4
5
5
6
6
6
7
8
9
10
11
12
13
14
Содержащиеся в справочниках-каталогах запасные части и детали носят исключительно информационный характер