Оригинальные каталоги
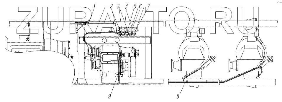
| № | Номер | Наименование | Цена | |
|---|---|---|---|---|
| 1 | 3,6/200 | Хомут | Нет в продаже |
|
| 2 | 4320БМ-3724650 | Пучок проводов электропневмоклапанов | Нет в продаже |
|
| 3 | Клапан | Клапан | Нет в продаже |
|
| 4 | Клапан | Клапан | Нет в продаже |
|
| 5 | Клапан | Клапан | Нет в продаже |
|
| 6 | Клапан | Клапан | Нет в продаже |
|
| 7 | Клапан | Клапан | Нет в продаже |
|
| 8 | 4320БМ-3724139-10 | Пучок проводов межколесной блокировки | Нет в продаже |
|
1
2
3
4
5
6
7
8
Содержащиеся в справочниках-каталогах запасные части и детали носят исключительно информационный характер