Оригинальные каталоги
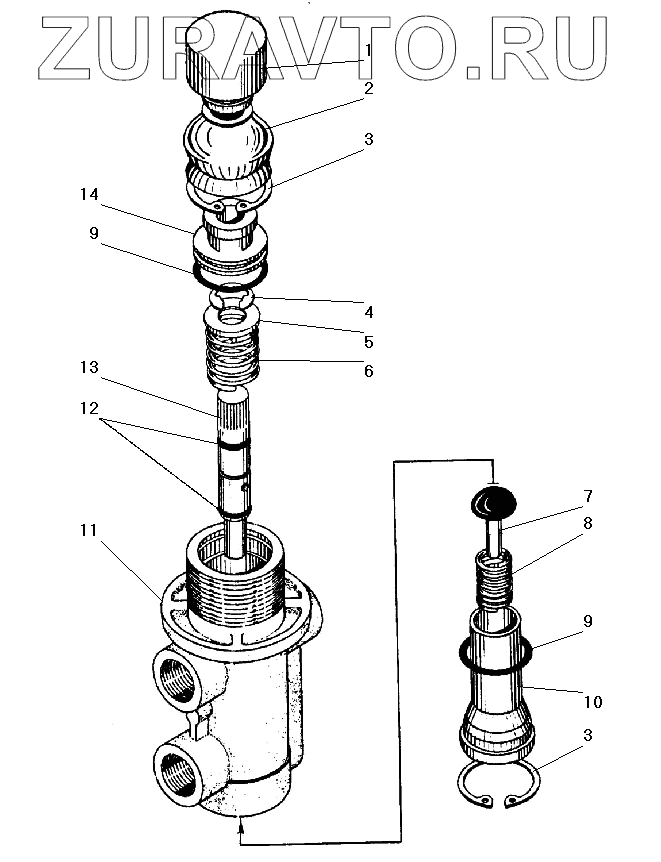
| № | Номер | Наименование | Цена | |
|---|---|---|---|---|
| 1 | 100-3537125 | Колпачок | Нет в продаже |
|
| 2 | 100-3537129-01 | Чехол защитный | Нет в продаже |
|
| 3 | 307758-П2 | Кольцо упорное 20х1 | Нет в продаже |
|
| 4 | 489327-П2 | Кольцо упорное 6 | Нет в продаже |
|
| 5 | 100-3537132 | Тарелка пружины | Нет в продаже |
|
| 6 | 100-3537123 | Пружина | Нет в продаже |
|
| 7 | 100-3537134 | Клапан в сборе | Нет в продаже |
|
| 8 | 100-3537136 | Пружина | Нет в продаже |
|
| 9 | 100-3537137 | Кольцо О-образное 17х1,5 | Нет в продаже |
|
| 10 | 100-3537140 | Направляющая | Нет в продаже |
|
| 11 | 100-3537120 | Корпус | Нет в продаже |
|
| 12 | 100-3537133 | Кольцо О-образное 5х1,0 | Нет в продаже |
|
| 13 | 100-3537124 | Толкатель | Нет в продаже |
|
| 14 | 100-3537130 | Втулка | Нет в продаже |
|
1
2
3
3
4
5
6
7
8
9
9
10
11
12
13
14
Содержащиеся в справочниках-каталогах запасные части и детали носят исключительно информационный характер