Оригинальные каталоги
| № | Номер | Наименование | Цена | |
|---|---|---|---|---|
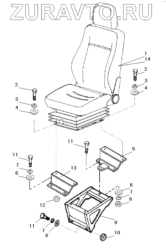
| 1 | СТ-151А.6830010 | Сиденье пассажира | Нет в продаже |
|
| 2 | 201497-П29 | Болт М10-6gх25 | Нет в продаже |
|
| 3 | 252156-П2 | Шайба 10 пружинная | Нет в продаже |
|
| 4 | 252006-П29 | Шайба 10 | Нет в продаже |
|
| 5 | 532301-6807059 СБ | Кронштейн задний | Нет в продаже |
|
| 6 | 252005-П29 | Шайба 8 | Нет в продаже |
|
| 7 | 252155-П2 | Шайба 8 пружинная | Нет в продаже |
|
| 8 | 250510-П29 | Гайка М8-6Н | Нет в продаже |
|
| 9 | 330-6807009 | Подстава сиденья | Нет в продаже |
|
| 10 | 330-6807083 | Шайба установочная | Нет в продаже |
|
| 11 | 201454-П29 | Болт М8-6gх16 | Нет в продаже |
|
| 12 | 250512-П29 | Гайка М10 | Нет в продаже |
|
| 13 | 532301-6807045 СБ | Кронштейн передний | Нет в продаже |
|
| 14 | СТ-15А.6830010 | Сиденье водителя | Нет в продаже |
|
1
2
2
3
3
4
4
5
6
6
6
7
7
7
8
9
10
11
11
11
12
13
14
Содержащиеся в справочниках-каталогах запасные части и детали носят исключительно информационный характер