Оригинальные каталоги
| № | Номер | Наименование | Цена | |
|---|---|---|---|---|
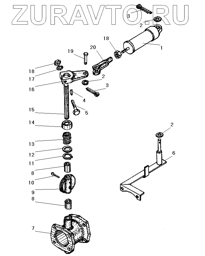
| 1 | 100-3570210 | 100-3570210 - цилиндр пневматический 100-3570210 | Нет в продаже |
|
| 2 | 252005-П29 | Шайба 8 | Нет в продаже |
|
| 3 | 258039-П29 | Шплинт 3,2х20 | Нет в продаже |
|
| 4 | 4320-3570103 | Фиксатор рычага | Нет в продаже |
|
| 5 | 200263-П29 | Болт М8-6gх35 | Нет в продаже |
|
| 6 | 4320Я3-3570164 | Кронштейн пневмоцилиндра | Нет в продаже |
|
| 7 | 4320Я3-3570016 | Корпус | Нет в продаже |
|
| 8 | 4320-3570092 | Втулка | Нет в продаже |
|
| 9 | 4320Я3-3570098 | Заслонка | Нет в продаже |
|
| 10 | 253874 | Заклепка 4х26 | Нет в продаже |
|
| 11 | 339646-П2 | Кольцо Б22 стопорное | Нет в продаже |
|
| 12 | 4320-3570089 | Шайба | Нет в продаже |
|
| 13 | 4320-3570079 | Пружина поджимная | Нет в продаже |
|
| 14 | 4320-3570085 | Крышка | Нет в продаже |
|
| 15 | 4320Я3-3570077 | Вал заслонки | Нет в продаже |
|
| 16 | 4320Я-3570081-10 | Рычаг | Нет в продаже |
|
| 17 | 252135-П29 | Шайба 8Т | Нет в продаже |
|
| 18 | 250510-П29 | Гайка М8-6Н | Нет в продаже |
|
| 19 | 260035-П29 | Палец | Нет в продаже |
|
| 20 | 5557-3570188 | Вилка | Нет в продаже |
|
1
2
2
2
3
3
4
5
6
7
8
8
9
10
11
12
13
14
15
16
17
18
18
19
20
Содержащиеся в справочниках-каталогах запасные части и детали носят исключительно информационный характер