Оригинальные каталоги
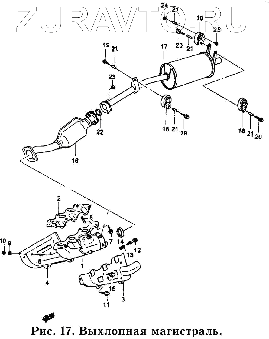
| № | Номер | Наименование | Цена | |
|---|---|---|---|---|
| 1 | 14111А80D10-000 | Выхлопной коллектор | Нет в продаже |
|
| 2 | 14140А80000-000 | Прокладка выпускного коллектор | Нет в продаже |
|
| 3 | 14120-80D 00-000 | Кожух выпускного коллектора | Нет в продаже |
|
| 4 | 14131-80D00-000 | Кожух выпускного коллектора | Нет в продаже |
|
| 5 | 14118А80000-000 | Уплотнительная шпилька | Нет в продаже |
|
| 6 | 08316-26083-000 | Гайка | Нет в продаже |
|
| 7 | 01957-08253-000 | Болт | Нет в продаже |
|
| 8 | 01411-06123-000 | Шпилька масляного поддона | Нет в продаже |
|
| 9 | 08322-21063-000 | Шайба кожуха коллектора | Нет в продаже |
|
| 10 | 08316-26063-000 | Гайка | Нет в продаже |
|
| 11 | 01954-06103-000 | Болт | Нет в продаже |
|
| 12 | 09119-10041-000 | Болт выпускной трубы | Нет в продаже |
|
| 13 | 14492А82600-000 | Пружина выпускной трубы | Нет в продаже |
|
| 14 | 14183А82000-000 | Уплотнительное кольцо | Нет в продаже |
|
| 15 | 01954-06102-000 | Болт кожуха | Нет в продаже |
|
| 16 | 14191А80040-000 | Центральная выхлопная трубка | Нет в продаже |
|
| 17 | 14300А83030-000 | Глушитель в комплекте | Нет в продаже |
|
| 18 | 14281-79010-000 | Резиновая петля глушителя | Нет в продаже |
|
| 19 | 01954-08353-000 | Болт | Нет в продаже |
|
| 20 | 01954-08303-000 | Болт креплены я глушителя | Нет в продаже |
|
| 21 | 09180А08095-000 | Втулка крепления | Нет в продаже |
|
| 22 | 14182А78В00-000 | Прокладка выхлопной трубки | Нет в продаже |
|
| 23 | 08316-26103-000 | Гайка | Нет в продаже |
|
| 24 | 08316-26083-000 | Гайка | Нет в продаже |
|
| 25 | 09160-08107-000 | Шайба резиновой петли глушитля | Нет в продаже |
|
1
2
3
4
5
6
7
8
9
11
12
13
14
15
16
17
18
19
20
21
22
23
24
25
Содержащиеся в справочниках-каталогах запасные части и детали носят исключительно информационный характер