Оригинальные каталоги
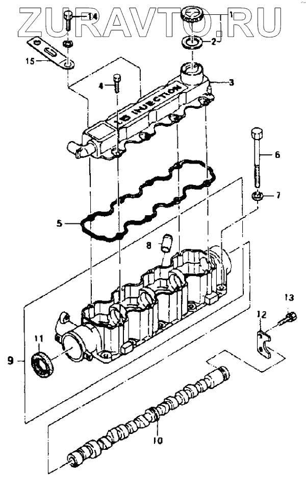
| № | Номер | Наименование | Цена | |
|---|---|---|---|---|
| 1 | 96181843 | Крышка заливной горловины в сборе | Нет в продаже |
|
| 2 | 96181851 | Уплотнение крышки | Нет в продаже |
|
| 3 | 96144660 | Крышка основы распредвала в сборе | Нет в продаже |
|
| 4 | 11055135 | Болт | Нет в продаже |
|
| 5 | 90354545 | Прокладка крышки распредвала | Нет в продаже |
|
| 6 | 96115995-А | Болт крепления головки | Нет в продаже |
|
| 7 | 96180642 | Шайба | Нет в продаже |
|
| 8 | 90220615 | Трубка | Нет в продаже |
|
| 9 | К90265566 | Корпус распредвала в сборе | Нет в продаже |
|
| 10 | К90264937 | Распредвал в сборе | Нет в продаже |
|
| 11 | 90122609 | Уплотнение распредвала | Нет в продаже |
|
| 12 | 90233647 | Упорная пластина распредвала | Нет в продаже |
|
| 13 | 11078142 | Болт | Нет в продаже |
|
| 14 | 11055135 | Болт | Нет в продаже |
|
| 15 | 90225737 | Кронштейн проводов | Нет в продаже |
|
1
2
3
4
5
6
7
8
9
10
11
12
13
14
15
Содержащиеся в справочниках-каталогах запасные части и детали носят исключительно информационный характер