Оригинальные каталоги
| № | Номер | Наименование | Цена | |
|---|---|---|---|---|
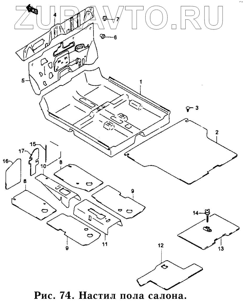
| 1 | 75110А78В03-5SН | Коврик пола в комплекте | Нет в продаже |
|
| 1 | 75110А78В03-5ТВ | Коврик пола в комплекте | Нет в продаже |
|
| 2 | 75131А78В01-5SН | Коврик пола багажника | Нет в продаже |
|
| 2 | 75131А78В01-5ТВ | Коврик пола багажника | Нет в продаже |
|
| 3 | 09409А10302-000 | Зажим | Нет в продаже |
|
| 4 | 75210А78В00-000 | Верхний шумопоглотитель капота | Нет в продаже |
|
| 5 | 75220А78В02-000 | Нижний шумопоглотитель капота | Нет в продаже |
|
| 6 | 09148-05032-000 | Зажим шумопоглотителя панели | Нет в продаже |
|
| 7 | 09148-05037-000 | Зажим шумопоглотителя капота | Нет в продаже |
|
| 8 | 75311А78В02-000 | Шумопоглотитель переднего пола | Нет в продаже |
|
| 9 | 75312А78В01-000 | Шумопоглотитель заднего пола | Нет в продаже |
|
| 10 | 7531 3А78В01-000 | Передний шумопоглотитель | Нет в продаже |
|
| 11 | 75314А78В00-000 | Задний шумопоглотитель | Нет в продаже |
|
| 12 | 75316А70В00-000 | Шумопоглотитель запасной шины | Нет в продаже |
|
| 13 | 75440А70В04-000 | Крышка гнезда запасной шины | Нет в продаже |
|
| 14 | 75463А70В10-000 | Винт запасного колеса | Нет в продаже |
|
| 15 | 75317-78В01-000 | Шумопоглотитель | Нет в продаже |
|
| 16 | 75318-78В01-000 | Шумопоглотитель | Нет в продаже |
|
| 17 | 75319-78В01-000 | Шумопоглотитель | Нет в продаже |
|
1
1
2
2
3
4
5
6
7
8
8
9
9
10
11
12
13
14
15
16
17
Содержащиеся в справочниках-каталогах запасные части и детали носят исключительно информационный характер