Оригинальные каталоги
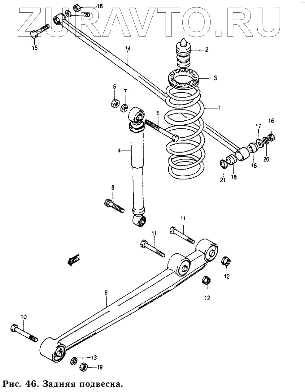
| № | Номер | Наименование | Цена | |
|---|---|---|---|---|
| 1 | 41311А78В00-000 | Задняя спиральная пружина | Нет в продаже |
|
| 2 | 42251 А78В01-000 | Гаситель ударов задней стойки | Нет в продаже |
|
| 3 | 41341-50А00-000 | Верхнее седло задней пружины | Нет в продаже |
|
| 4 | 41800А78В00-000 | Амортизатор задней подвески | Нет в продаже |
|
| 4 | 41800А78В20-000 | Амортизатор задней подвески | Нет в продаже |
|
| 5 | 09100-12039-000 | Болт | Нет в продаже |
|
| 6 | 08310-11123-000 | Гайка | Нет в продаже |
|
| 7 | 08321-31123-000 | Стопорная шайба | Нет в продаже |
|
| 8 | 09117А12004-000 | Болт | Нет в продаже |
|
| 9 | 46200-50А00-000 | Соединительный рычаг в сборе | Нет в продаже |
|
| 10 | 09100А12035-000 | Болт | Нет в продаже |
|
| 11 | 091 00А12047-000 | Болт | Нет в продаже |
|
| 12 | 09159А12025-000 | Гайка | Нет в продаже |
|
| 13 | 08321-31123-000 | Стопорная шайба | Нет в продаже |
|
| 14 | 46300-501А00-000 | Боковая тяга в сборе | Нет в продаже |
|
| 15 | 091 00А12033-000 | Болт | Нет в продаже |
|
| 16 | 08310-11123-000 | Гайка | Нет в продаже |
|
| 17 | 09160А12078-000 | Шайба поперечной тяги | Нет в продаже |
|
| 18 | 09305А16005-000 | Втулка поперечной тяги | Нет в продаже |
|
| 19 | 08310-11123-000 | Гайка | Нет в продаже |
|
| 20 | 08321-31123-000 | Стопорная шайба | Нет в продаже |
|
| 21 | 09160А17045-000 | Шайба поперечной тяги | Нет в продаже |
|
1
2
3
4
4
5
6
7
8
9
10
11
11
12
12
13
14
15
16
16
17
18
18
19
20
20
21
Содержащиеся в справочниках-каталогах запасные части и детали носят исключительно информационный характер