Оригинальные каталоги
| № | Номер | Наименование | Цена | |
|---|---|---|---|---|
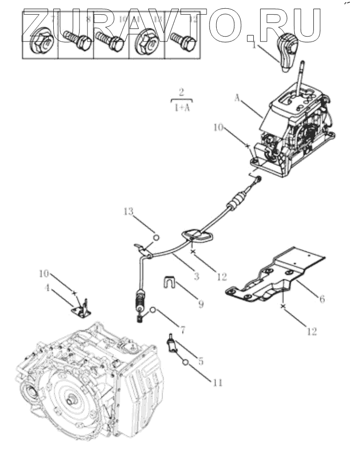
| 1 | 1014000104 | AUTO GEARSHIFT HANDLE | Нет в продаже |
|
| 2 | 101402382760 | AUTO GEARSHIFT ASSY | Нет в продаже |
|
| 2 | 1064001934 | AUTO GEARSHIFT ASSY | Нет в продаже |
|
| 3 | 1014014423 | GEARSHIFT CABLE | Нет в продаже |
|
| 3 | 1014023828 | GEARSHIFT CABLE | Нет в продаже |
|
| 4 | 1016007919 | CABLE BRACKET | Нет в продаже |
|
| 5 | 1016007918 | SHIFT ARM | Нет в продаже |
|
| 6 | 1014023943 | GEARSHIFT BRACKET | Нет в продаже |
|
| 6 | 1014021677 | GEARSHIFT BRACKET | Нет в продаже |
|
| 7 | Q33806 | HEXAGON FLANGE NUT | Нет в продаже |
|
| 8 | Q1840840 | HEXAGON FLANGE BOLT | Нет в продаже |
|
| 9 | JQ439A195 | U-SHAPE CLIP | Нет в продаже |
|
| 10 | Q1840820 | HEXAGON FLANGE BOLT | Нет в продаже |
|
| 11 | Q32008 | HEXAGON FLANGE NUT | Нет в продаже |
|
| 12 | Q1400616F31 | HEXAGON HEAD BOLT AND PLAIN WASHER ASSY | Нет в продаже |
|
| 13 | JQ32006 | HEXAGON FLANGE NUT | Нет в продаже |
|
1
1
2
2
3
3
4
5
6
6
7
7
8
9
10
10
10
11
11
12
12
12
13
13
Содержащиеся в справочниках-каталогах запасные части и детали носят исключительно информационный характер