Оригинальные каталоги
| № | Номер | Наименование | Цена | |
|---|---|---|---|---|
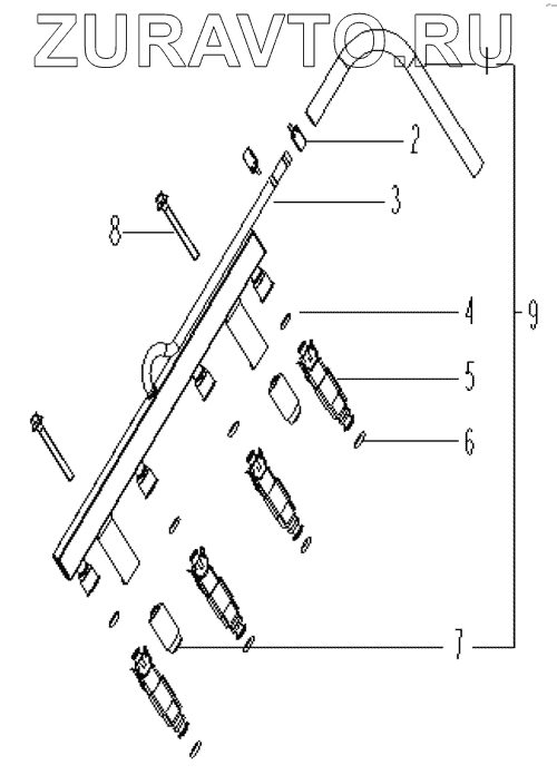
| 1 | 1136000129 | FUEL HOSE | Нет в продаже |
|
| 2 | CLIP | CLIP | Нет в продаже |
|
| 3 | FUEL ORBIT COMPONENTS | FUEL ORBIT COMPONENTS | Нет в продаже |
|
| 4 | FUEL INJECTOR SEAL I | FUEL INJECTOR SEAL I | Нет в продаже |
|
| 5 | FUEL INJECTOR COMPONENTS | FUEL INJECTOR COMPONENTS | Нет в продаже |
|
| 6 | FUEL INJECTOR SEAL II | FUEL INJECTOR SEAL II | Нет в продаже |
|
| 7 | 1136000128 | FUEL RAIL ALIGNING PIN | Нет в продаже |
|
| 8 | HEXAGON FLANGE BOLT (M6X50) | HEXAGON FLANGE BOLT (M6X50) | Нет в продаже |
|
| 9 | 1136000127 | FUEL INJECTOR ASSY. | Нет в продаже |
|
| 9 | 1016050253 | FUEL RAIL & INJECTOR ASSY. | Нет в продаже |
|
1
2
3
4
5
6
7
8
9
9
Содержащиеся в справочниках-каталогах запасные части и детали носят исключительно информационный характер