Оригинальные каталоги
| № | Номер | Наименование | Цена | |
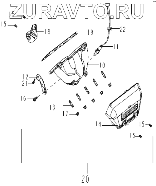
|---|---|---|---|---|
| 10 | EXHAUST MANIFOLD | EXHAUST MANIFOLD | Нет в продаже |
|
| 11 | 1086001114 | OXYGEN SENSOR (479Q) | Нет в продаже |
|
| 11 | 2150020003 | OXYGEN SENSOR | Нет в продаже |
|
| 12 | EXHAUST MANIFOLD STAY | EXHAUST MANIFOLD STAY | Нет в продаже |
|
| 13 | E010300901 | DOUBLE END STUD M10X1.25X40 | Нет в продаже |
|
| 14 | E010310005 | UPPER HEAT INSULATOR | Нет в продаже |
|
| 15 | UPPER/LOWER HEAT INSULATOR FIXING BOLT | UPPER/LOWER HEAT INSULATOR FIXING BOLT | Нет в продаже |
|
| 16 | EXHAUST MANIFOLD STAY FIXING BOLT M8x25 | EXHAUST MANIFOLD STAY FIXING BOLT M8x25 | Нет в продаже |
|
| 17 | NUT M10x125 | NUT M10x125 | Нет в продаже |
|
| 18 | E010300401 | LOWER HEAT INSULATOR | Нет в продаже |
|
| 19 | E010001401 | EXHAUST MANIFOLD GASKET | Нет в продаже |
|
| 20 | 1086001181 | EXHAUST MANIFOLD TWC | Нет в продаже |
|
| 20 | 1086001179 | EXHAUST MANIFOLD TWC | Нет в продаже |
|
| 21 | HEXAGON HEAD BOLT & PLAIN WASHER ASSY | HEXAGON HEAD BOLT & PLAIN WASHER ASSY. | Нет в продаже |
|
| 22 | WIRE CLIP | WIRE CLIP | Нет в продаже |
|
10
11
11
12
13
14
15
15
15
15
16
17
18
19
20
20
21
22
Содержащиеся в справочниках-каталогах запасные части и детали носят исключительно информационный характер