Оригинальные каталоги
| № | Номер | Наименование | Цена | |
|---|---|---|---|---|
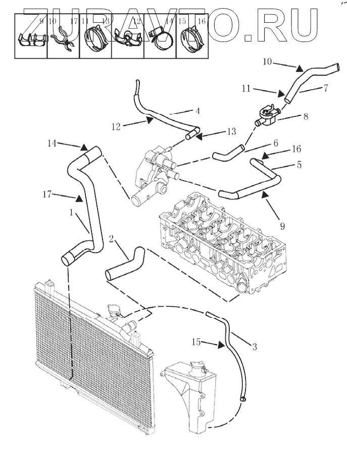
| 1 | 1602200180 | RADIATOR OUTLET PIPE | Нет в продаже |
|
| 2 | 1016003339 | RADIATOR WATER INLET PIPE | Нет в продаже |
|
| 3 | 1016002046 | OVERFLOW PIPE | Нет в продаже |
|
| 4 | 1086005001 | COOLING WATER BYPASS HOSE | Нет в продаже |
|
| 5 | 1017008028 | 2# WATER PIPE | Нет в продаже |
|
| 6 | 1017008028 | 2# WATER PIPE | Нет в продаже |
|
| 7 | 1017008027 | 1# WATER PIPE | Нет в продаже |
|
| 8 | 8101706106 | WATER VALVE | Нет в продаже |
|
| 9 | 2-WAY CLIP | 2-WAY CLIP | Нет в продаже |
|
| 10 | BRACKET | BRACKET | Нет в продаже |
|
| 11 | HOOP | HOOP | Нет в продаже |
|
| 12 | 2-WAY CLIP | 2-WAY CLIP | Нет в продаже |
|
| 13 | HOOP | HOOP | Нет в продаже |
|
| 14 | HOOP | HOOP | Нет в продаже |
|
| 15 | HOOP | HOOP | Нет в продаже |
|
| 16 | HOOP | HOOP | Нет в продаже |
|
| 17 | BRACKET | BRACKET | Нет в продаже |
|
1
2
3
4
5
6
7
8
9
9
10
10
11
11
12
12
13
13
14
14
15
15
16
16
17
17
Содержащиеся в справочниках-каталогах запасные части и детали носят исключительно информационный характер