Оригинальные каталоги
| № | Номер | Наименование | Цена | |
|---|---|---|---|---|
| 412-1004047 | 412-1004047 | Шатун с болтом | Нет в продаже |
|
| 412-1004045-А-01 | 412-1004045-А-01 | Шатун в сборе | Нет в продаже |
|
| 3317.1004012-10 | 3317.1004012-10 | Поршень с шатуном и пальцем в сборе | Нет в продаже |
|
| 3317.1004010-10 | 3317.1004010-10 | Поршень с шатуном в сборе | Нет в продаже |
|
| 3317.1004950-10 | 3317.1004950-10 | Комплект для запчастей Поршень, палец, стопорные и поршневые кольца номинального размера на один цилиндр | Нет в продаже |
|
| 3317.1002953 | 3317.1002953 | Комплект для запчастей Гильза, поршень, палец, стопорные и поршневые кольца номинального размера на один цилиндр | Нет в продаже |
|
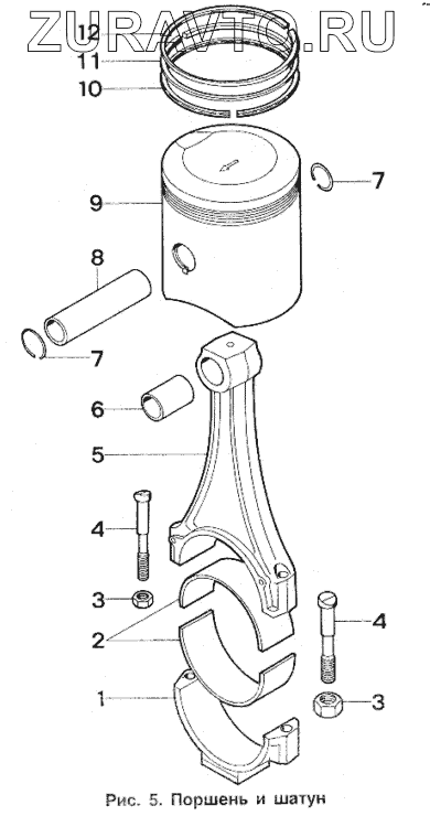
| 1 | 412-1004055-Б-10 | Крышка шатуна | Нет в продаже |
|
| 2 | 412-1004058-03 | Вкладыш шатуна нормального размера | Нет в продаже |
|
| 2 | 412-1004058-04 | Вкладыш шатуна | Нет в продаже |
|
| 3 | 412-1004064 | Гайка болта | Нет в продаже |
|
| 4 | 248-1004062 | Болт шатуна | Нет в продаже |
|
| 5 | 412-1004050-Б-10 | Шатун | Нет в продаже |
|
| 6 | 412-1004052 | Втулка шатуна | Нет в продаже |
|
| 7 | 331.1004022 | Кольцо стопорное | Нет в продаже |
|
| 8 | 331.1004020 | Палец поршневой | Нет в продаже |
|
| 9 | 3317.1004015-30 | Поршень | Нет в продаже |
|
| 10 | 3317.1004035-01 | Кольцо маслосъемное | Нет в продаже |
|
| 11 | 3317.1004025-01 | Кольцо поршневое нижнее | Нет в продаже |
|
| 12 | 3317.1004030-01 | Кольцо поршневое верхнее | Нет в продаже |
|
412-1004047
1
2
2
3
3
4
4
5
6
7
7
8
9
10
11
12
Содержащиеся в справочниках-каталогах запасные части и детали носят исключительно информационный характер