Оригинальные каталоги
| № | Номер | Наименование | Цена | |
|---|---|---|---|---|
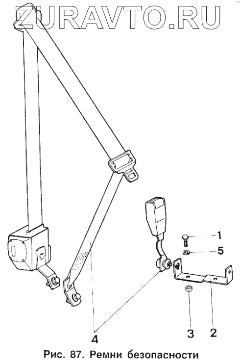
| ЕК31-11.00 | ЕК31-11.00 | Ремень безопасности для переднего сиденья левый (комплект) | Нет в продаже |
|
| 1 | 2126-8217016 | Болт | Нет в продаже |
|
| 2 | 2126-8217120 | Планка ремней | Нет в продаже |
|
| 3 | 2126-8217018 | Втулка | Нет в продаже |
|
| 4 | ЕК31-11.00-01 | Ремень безопасности для переднего сиденья правый (комплект) | Нет в продаже |
|
| 5 | 252137-29 | Шайба 12 пружинная | Нет в продаже |
|
1
2
3
4
5
Содержащиеся в справочниках-каталогах запасные части и детали носят исключительно информационный характер