Оригинальные каталоги
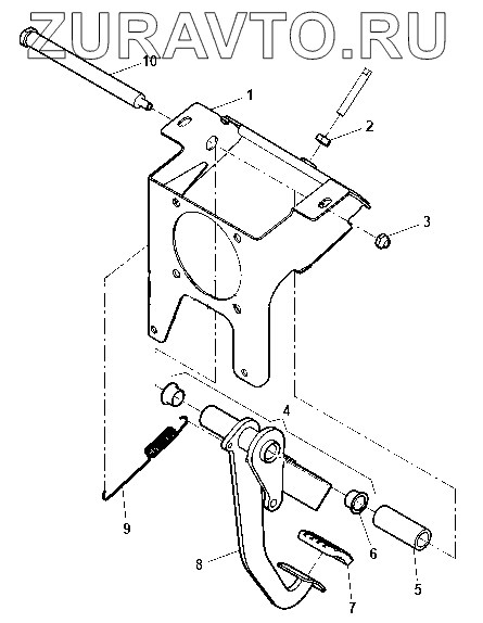
| № | Номер | Наименование | Цена | |
|---|---|---|---|---|
| 1 | 316380350406400 | Кронштейн | Нет в продаже |
|
| 2 | 000100002164711 | Гайка | Нет в продаже |
|
| 3 | 000000025164600 | Гайка | Нет в продаже |
|
| 4 | 316380350401000 | Педаль тормоза | Нет в продаже |
|
| 5 | 316380350409800 | Втулка дистанционная | Нет в продаже |
|
| 6 | 316000160207200 | Втулка педалей сцепления и тормоза | Нет в продаже |
|
| 7 | 315195160204700 | Накладка площадки педали | Нет в продаже |
|
| 8 | 316380350401100 | Педаль тормоза | Нет в продаже |
|
| 9 | 000500000247201 | Гайка | Нет в продаже |
|
| 10 | 316380350402800 | Ось педали тормоза | Нет в продаже |
|
1
2
3
4
5
6
7
8
9
10
Содержащиеся в справочниках-каталогах запасные части и детали носят исключительно информационный характер