Оригинальные каталоги
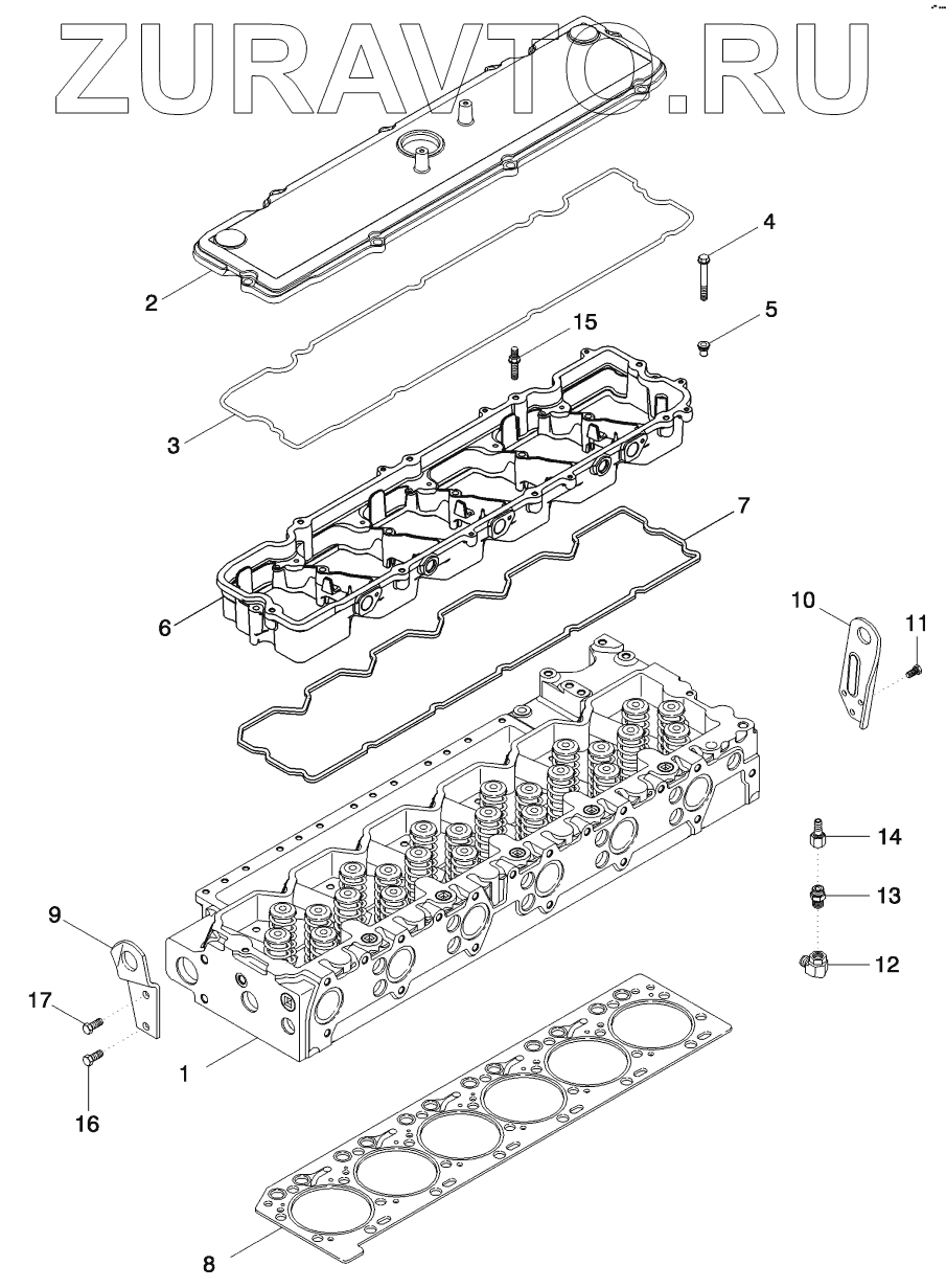
| № | Номер | Наименование | Цена | |
|---|---|---|---|---|
| 1 | REF | INSTRUCTION | Нет в продаже |
|
| 2 | 87345871 | COVER | Нет в продаже |
|
| 3 | 87345861 | GASKET | Нет в продаже |
|
| 4 | 87342136 | ISOLATOR | Нет в продаже |
|
| 5 | J900632 | BOLT | Нет в продаже |
|
| 6 | 87344767 | HOUSING | Нет в продаже |
|
| 7 | 87344755 | GASKET | Нет в продаже |
|
| 8 | 87737237 | GASKET | Нет в продаже |
|
| 9 | 87340305 | BRACKET | Нет в продаже |
|
| 10 | 87340301 | BRACKET | Нет в продаже |
|
| 11 | 854-12025 | BOLT | Нет в продаже |
|
| 12 | 217-1014 | ELBOW | Нет в продаже |
|
| 13 | J911901 | VALVE | Нет в продаже |
|
| 14 | J911925 | COUPLING | Нет в продаже |
|
| 15 | 87340279 | SCREW | Нет в продаже |
|
| 16 | 87340324 | BOLT | Нет в продаже |
|
| 17 | 854-10020 | BOLT | Нет в продаже |
|
1
2
3
4
5
6
7
8
9
10
11
12
13
14
15
16
17
Содержащиеся в справочниках-каталогах запасные части и детали носят исключительно информационный характер