Оригинальные каталоги
| № | Номер | Наименование | Цена | |
|---|---|---|---|---|
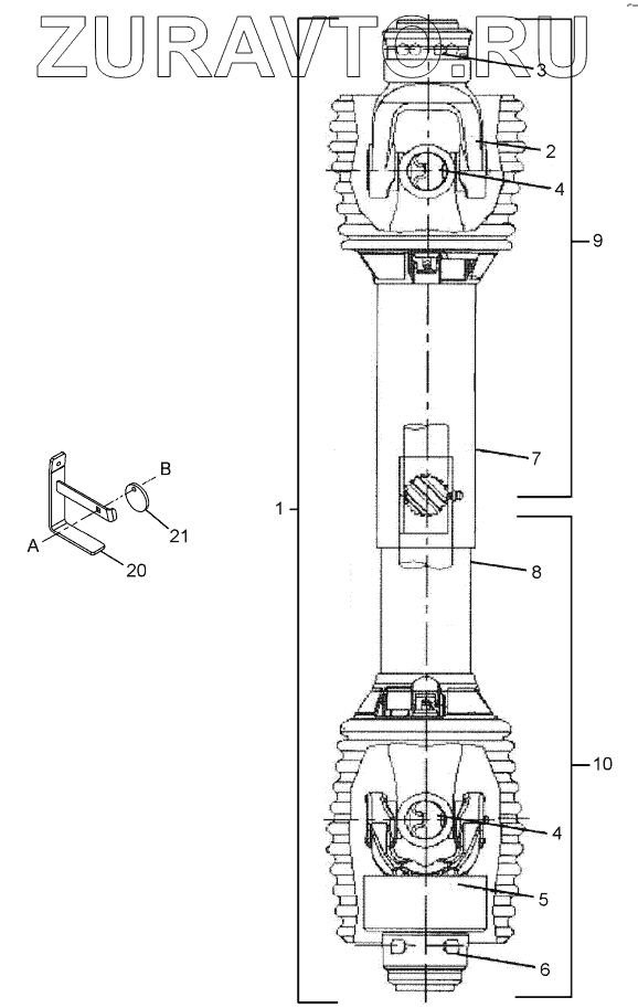
| 1 | 87597427 | DRIVE | Нет в продаже |
|
| 1 | 87597426 | DRIVE | Нет в продаже |
|
| 2 | 87597547 | SPRING | Нет в продаже |
|
| 2 | 87597548 | SPRING | Нет в продаже |
|
| 3 | 87597504 | KIT | Нет в продаже |
|
| 3 | 87597505 | KIT | Нет в продаже |
|
| 4 | 87712718 | JOURNAL | Нет в продаже |
|
| 5 | 87597365 | CLUTCH | Нет в продаже |
|
| 6 | 87597503 | KIT | Нет в продаже |
|
| 7 | 87597432 | GUARD ASSY | Нет в продаже |
|
| 7 | 87597434 | GUARD ASSY | Нет в продаже |
|
| 8 | 87597433 | GUARD ASSY | Нет в продаже |
|
| 8 | 87597435 | GUARD ASSY | Нет в продаже |
|
| 9 | 87597436 | SHAFT | Нет в продаже |
|
| 9 | 87597437 | SHAFT | Нет в продаже |
|
| 10 | 87597438 | SHAFT | Нет в продаже |
|
| 10 | 87597439 | SHAFT | Нет в продаже |
|
| 20 | 87597351 | BRACKET | Нет в продаже |
|
| 21 | 87597425 | PLATE | Нет в продаже |
|
| A | 88682 | BOLT | Нет в продаже |
|
| B | 86521609 | NUT | Нет в продаже |
|
1
1
2
2
3
3
4
4
5
6
7
7
8
8
9
9
10
10
20
21
A
B
Содержащиеся в справочниках-каталогах запасные части и детали носят исключительно информационный характер