Назад

Оригинальные каталоги

zoom-in zoom-out enlarge shrink circle-right circle-left file-text2 info cart
Номер Наименование Цена
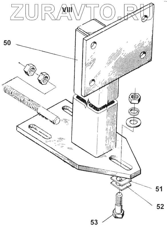
50 СПТ-06430 Стойка Нет в продаже
51 Прокладка 12х0,5 СТП 304.9.1-77 Прокладка 12х0,5 СТП 304.9.1-77 Нет в продаже
52 Прокладка 12х1,0 СТП 3049.1-77 Прокладка 12х1,0 СТП 3049.1-77 Нет в продаже
53 Болт М12-6qх40.66.093 ГОСТ 7796-70 Болт М12-6qх40.66.093 ГОСТ 7796-70 Нет в продаже
50
51
52
53
100%
Содержащиеся в справочниках-каталогах запасные части и детали носят исключительно информационный характер