Оригинальные каталоги
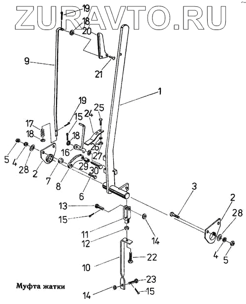
| № | Номер | Наименование | Цена | |
|---|---|---|---|---|
| 1 | 4131 77749 3 | Вал с рычагом | Нет в продаже |
|
| 2 | 4221 60550 4 | Пластина опорная | Нет в продаже |
|
| 3 | 9933 92971 5 | Болт шестигранный | Нет в продаже |
|
| 4 | 9961 91123 7 | Кольцо пружинное | Нет в продаже |
|
| 5 | 9950 89586 5 | Гайка шестигранная | Нет в продаже |
|
| 6 | 9933 93026 8 | Болт шестигранный | Нет в продаже |
|
| 7 | 4131 77213 4 | Втулка распорная | Нет в продаже |
|
| 8 | 4210 37711 7 | Сегмент зубчатый | Нет в продаже |
|
| 9 | 4131 78627 7 | Штанга тяговая | Нет в продаже |
|
| 10 | 4131 78460 3 | Рычаг | Нет в продаже |
|
| 11 | 9969 88322 4 | Вилка | Нет в продаже |
|
| 12 | 9950 89612 6 | Гайка шестигранная | Нет в продаже |
|
| 13 | 9949 86307 2 | Палец | Нет в продаже |
|
| 14 | 9960 92178 7 | Шайба | Нет в продаже |
|
| 15 | 9963 94976 2 | Шплинт | Нет в продаже |
|
| 16 | 4131 78882 4 | Рычаг фиксаторный | Нет в продаже |
|
| 17 | 9973 87987 5 | Пружина сжатия | Нет в продаже |
|
| 18 | 9960 92164 1 | Шайба | Нет в продаже |
|
| 19 | 9963 94950 4 | Шплинт | Нет в продаже |
|
| 20 | 4131 77000 3 | Рукоятка | Нет в продаже |
|
| 21 | 9971 89939 0 | Заклепка с полукруглой головкой | Нет в продаже |
|
| 22 | 9933 93136 5 | Болт шестигранный | Нет в продаже |
|
| 23 | 9949 86311 1 | Палец | Нет в продаже |
|
| 24 | 4131 77570 7 | Пружина | Нет в продаже |
|
| 25 | 9933 92931 3 | Болт шестигранный | Нет в продаже |
|
| 26 | 9961 91084 7 | Кольцо пружинное | Нет в продаже |
|
| 27 | 9950 89571 1 | Гайка шестигранная | Нет в продаже |
|
| 28 | 9960 92161 7 | Шайба | Нет в продаже |
|
| 29 | 4131 78643 7 | Втулка распорная | Нет в продаже |
|
| 30 | 9932 93047 8 | Болт шестигранный | Нет в продаже |
|
1
2
2
3
4
4
5
5
6
7
8
9
10
11
12
13
14
14
15
15
15
16
17
18
18
18
19
19
20
21
22
23
24
25
26
27
28
28
29
30
Содержащиеся в справочниках-каталогах запасные части и детали носят исключительно информационный характер