Оригинальные каталоги
| № | Номер | Наименование | Цена | |
|---|---|---|---|---|
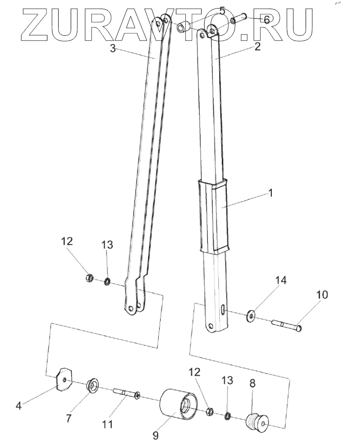
| КЗР 0200370В | КЗР 0200370В | Механизм фиксации капота | Нет в продаже |
|
| 1 | КЗР 0200810 | Фиксатор | Нет в продаже |
|
| 2 | КЗР 0200466В | Рычаг | Нет в продаже |
|
| 3 | КЗР 0200467В | Рычаг | Нет в продаже |
|
| 4 | КЗР 0299436 | Шайба | Нет в продаже |
|
| 5 | КЗР 0200618Б | Втулка | Нет в продаже |
|
| 6 | КЗР 0200621Б | Штифт | Нет в продаже |
|
| 7 | КЗР 0200654 | Втулка | Нет в продаже |
|
| 8 | АМ 84.00.008 | Фиксатор | Нет в продаже |
|
| 9 | АМ 84.00.013 | Обойма | Нет в продаже |
|
| 10 | Винт В.М6-6eх50-17473 | Винт | Нет в продаже |
|
| 11 | Винт В2.М6-6eх45-17475 | Винт В2.М6-6eх45-17475 | Нет в продаже |
|
| 12 | Гайка М6-6G-5915 | Гайка М6-6G-5915 | Нет в продаже |
|
| 13 | Шайба 6Т 65Г-6402 | Шайба 6Т 65Г-6402 | Нет в продаже |
|
| 14 | Шайба А 6.01-6958 | Шайба А 6.01-6958 | Нет в продаже |
|
1
2
3
4
5
6
7
8
9
10
11
12
12
13
13
14
Содержащиеся в справочниках-каталогах запасные части и детали носят исключительно информационный характер