Оригинальные каталоги
| № | Номер | Наименование | Цена | |
|---|---|---|---|---|
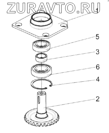
| КПС-4-0515260-01 | КПС-4-0515260-01 | Стакан | Нет в продаже |
|
| 1 | КПС-4-0515115-01 | Стакан | Нет в продаже |
|
| 2 | КПС-4-0515603 | Вал-шестерня | Нет в продаже |
|
| 3 | КПС-4-0515609 | Втулка | Нет в продаже |
|
| 4 | Кольцо В72-13943 | Кольцо В72-13943 | Нет в продаже |
|
| 5 | Подшипник 6206-2RS1 | Подшипник | Нет в продаже |
|
| 6 | Подшипник 6207-2RS1 | Подшипник | Нет в продаже |
|
1
2
3
4
5
6
Содержащиеся в справочниках-каталогах запасные части и детали носят исключительно информационный характер