Оригинальные каталоги
| № | Номер | Наименование | Цена | |
|---|---|---|---|---|
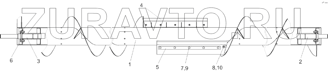
| КЗК0802000-01 | КЗК0802000-01 | Шнек | Нет в продаже |
|
| 1 | КЗК0802010-01 | Шнек | Нет в продаже |
|
| 2 | КЗК0802040 | Цапфа | Нет в продаже |
|
| 3 | КПС-5-0502050 | Цапфа | Нет в продаже |
|
| 4 | КЗК0802001 | Лопатка | Нет в продаже |
|
| 5 | КЗК0802406 | Планка | Нет в продаже |
|
| 6 | КПТ0100612А-01 | Болт | Нет в продаже |
|
| 7 | БолтМ8-6eх30-7802 | Болт М8-6eх30-7802 | Нет в продаже |
|
| 8 | ВинтB.М8-6eх25-17473 | Винт | Нет в продаже |
|
| 9 | ГайкаМ8-6G-5915 | Гайка М8-6G-5915 | Нет в продаже |
|
| 10 | ШайбаC8.01-6958 | Шайба C 8.01-6958 | Нет в продаже |
|
1
2
3
4
5
6
7
8
9
10
Содержащиеся в справочниках-каталогах запасные части и детали носят исключительно информационный характер