Оригинальные каталоги
| № | Номер | Наименование | Цена | |
|---|---|---|---|---|
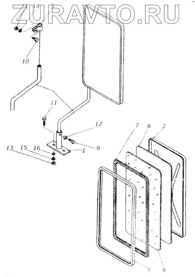
| 130В-8201015 | 130В-8201015 | Зеркало наружное | Нет в продаже |
|
| КИС 0146000Б | КИС 0146000Б | Опора зеркала | Нет в продаже |
|
| КИС 0120280Б | КИС 0120280Б | Установка зеркала | Нет в продаже |
|
| 1 | КИС 0146010 | Держатель | Нет в продаже |
|
| 2 | 130В-6201022 | Корпус зеркала | Нет в продаже |
|
| 3 | КИС 0120481В | Хомутик зеркала | Нет в продаже |
|
| 4 | КИС 0146605 | Кронштейн зеркала | Нет в продаже |
|
| 5 | 130В-8201019 | Ободок зеркала | Нет в продаже |
|
| 6 | 130В-8201020 | Прокладка зеркала внутренняя | Нет в продаже |
|
| 7 | 130В-8201021 | Прокладка зеркала наружная | Нет в продаже |
|
| 8 | 130В-8201052 | Зеркало | Нет в продаже |
|
| 9 | М8х20.56.019 | Болт ГОСТ 7796-70 | Нет в продаже |
|
| 10 | М8х25.56.018 | Болт ГОСТ 7796-70 | Нет в продаже |
|
| 11 | М16х30.56.019 | Болт ГОСТ 7796-70 | Нет в продаже |
|
| 12 | М10.6.019 | Гайка ГОСТ 11860-73 | Нет в продаже |
|
| 13 | М10.6.019 | Гайка ГОСТ 11860-73 | Нет в продаже |
|
| 14 | 8.65Г.019 | Шайба ГОСТ 6402-70 | Нет в продаже |
|
| 15 | 10.65Г.019 | Шайба ГОСТ 6402-70 | Нет в продаже |
|
| 16 | 10.01.019 | Шайба ГОСТ 11371-78 | Нет в продаже |
|
1
2
3
4
5
6
7
8
9
10
11
12
12
13
14
15
16
Содержащиеся в справочниках-каталогах запасные части и детали носят исключительно информационный характер