Оригинальные каталоги
| № | Номер | Наименование | Цена | |
|---|---|---|---|---|
| КИЛ0118660 | КИЛ0118660 | Наконечник левый | Нет в продаже |
|
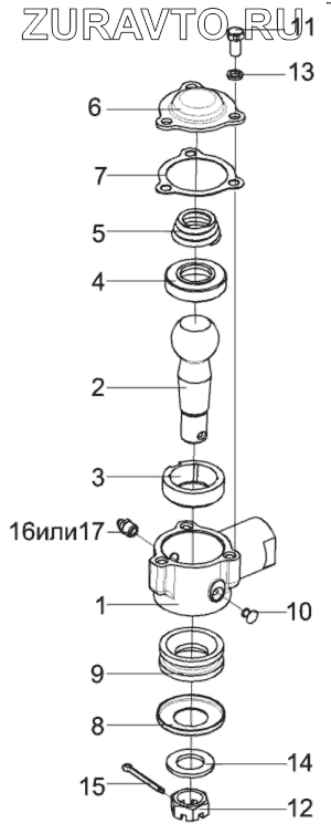
| 1 | КИЛ0118940 | Наконечник | Нет в продаже |
|
| 1 | КИЛ0118606 | Наконечник | Нет в продаже |
|
| 2 | 120-3003032 | Палец шаровой | Нет в продаже |
|
| 3 | 130-3003066 | Вкладыш верхний | Нет в продаже |
|
| 4 | 130-3003067 | Вкладыш нижний | Нет в продаже |
|
| 5 | 130-3003069 | Пружина | Нет в продаже |
|
| 6 | 130-3003070 | Крышка | Нет в продаже |
|
| 7 | 130-3003075 | Прокладка | Нет в продаже |
|
| 8 | 164-3003073 | Крышка защитной накладки головки поперечной рулевой тяги | Нет в продаже |
|
| 9 | 164А-3003074 | Накладка | Нет в продаже |
|
| 10 | 304170-П | Заклепка | Нет в продаже |
|
| 11 | БолтМ8-6eх16-7796 | Болт М8-6eх16-7796 | Нет в продаже |
|
| 12 | ГайкаМ20х1,5-6G-5935 | Гайка М20х1,5-6G-5935 | Нет в продаже |
|
| 13 | Шайба8Т.65Г-6402 | Шайба 8Т.65Г-6402 | Нет в продаже |
|
| 14 | ШайбаС.20.01-11371 | Шайба С.20.01-11371 | Нет в продаже |
|
| 15 | Шплинт4х36-397 | Шплинт 4х36-397 | Нет в продаже |
|
| 16 | 1.3-19853 | Масленка 1.3-19853 | Нет в продаже |
|
| 17 | 1.2-19853 | Масленка | Нет в продаже |
|
1
1
2
3
4
5
6
7
8
9
10
11
12
13
14
15
16
17
Содержащиеся в справочниках-каталогах запасные части и детали носят исключительно информационный характер