Назад

Оригинальные каталоги

zoom-in zoom-out enlarge shrink circle-right circle-left file-text2 info cart
Номер Наименование Цена
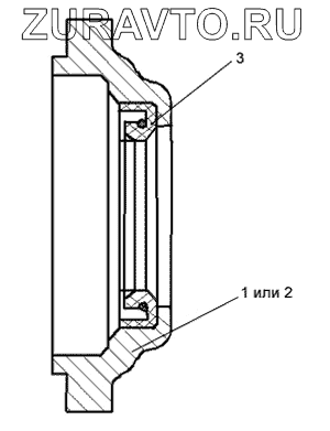
КИС 0600020 КИС 0600020 Крышка Нет в продаже
1 КИС 0600003 Крышка Нет в продаже
2 Н.026.165 Крышка подшипника Нет в продаже
3 Манжета 2.2-40х60 – 8752 Манжета 2.2-40х60 – 8752 Нет в продаже
КИС 0600020
1
2
3
100%
Содержащиеся в справочниках-каталогах запасные части и детали носят исключительно информационный характер