Оригинальные каталоги
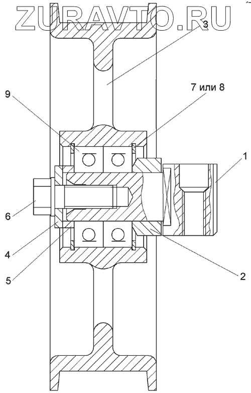
| № | Номер | Наименование | Цена | |
|---|---|---|---|---|
| КПП 0208000 | КПП 0208000 | Ролик | Нет в продаже |
|
| КПР 6106010-01 | КПР 6106010-01 | Ролик | Нет в продаже |
|
| 1 | КПП 0208601 | Ось | Нет в продаже |
|
| 2 | КПП 0208602 | Втулка | Нет в продаже |
|
| 3 | КПР 6106001 | Ролик | Нет в продаже |
|
| 4 | КЗР 0202682 | Шайба | Нет в продаже |
|
| 5 | КЗР 0202825-07 | Втулка | Нет в продаже |
|
| 6 | КПТ 0100612А-01 | Болт | Нет в продаже |
|
| 7 | Кольцо В52 – 13941 | Кольцо В52 – 13941 | Нет в продаже |
|
| 8 | Кольцо В52 – 13943 | Кольцо В52 – 13943 | Нет в продаже |
|
| 9 | Подшипник 180205С17 – 8882 | Подшипник 180205С17 – 8882 | Нет в продаже |
|
КПП 0208000
КПР 6106010-01
1
2
3
4
5
6
7
8
9
Содержащиеся в справочниках-каталогах запасные части и детали носят исключительно информационный характер