Оригинальные каталоги
| № | Номер | Наименование | Цена | |
|---|---|---|---|---|
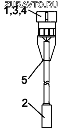
| КВК0700770 | КВК0700770 | Датчик оборотов | Нет в продаже |
|
| 1 | 0-0282105-1 | Колодка штыревая | Нет в продаже |
|
| 2 | Дx-301ЛОГ | Датчик бесконтактный оборотов | Нет в продаже |
|
| 3 | 0-0281934-2 | Уплотнитель | Нет в продаже |
|
| 4 | 0-0282109-1 | Штырь | Нет в продаже |
|
| 5 | W-1-SB(3X)19,1 | Трубка термоусаживаемая | Нет в продаже |
|
1
2
3
4
5
Содержащиеся в справочниках-каталогах запасные части и детали носят исключительно информационный характер