Назад

Оригинальные каталоги

zoom-in zoom-out enlarge shrink circle-right circle-left file-text2 info cart
Номер Наименование Цена
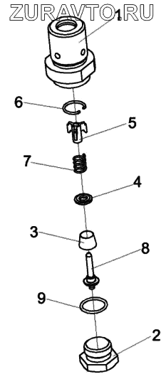
КВС-1-0103180 КВС-1-0103180 Клапан сливной Нет в продаже
1 КВС-1-0103606 Корпус Нет в продаже
2 КВС-1-0103607 Пробка Нет в продаже
3 МС12-3-002 Прижим Нет в продаже
4 МС12-3-003 Кольцо Нет в продаже
5 МС12-3-005 Втулка направляющая Нет в продаже
6 МС12-3-601 Кольцо запорное Нет в продаже
7 МС12-3-602 Пружина Нет в продаже
8 МС12-3-607 Клапан Нет в продаже
9 019-022-19-2-2-18829/9833 Кольцо 019-022-19-2-2-18829/9833 Нет в продаже
1
2
3
4
5
6
7
8
9
100%
Содержащиеся в справочниках-каталогах запасные части и детали носят исключительно информационный характер