Оригинальные каталоги
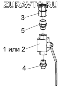
| № | Номер | Наименование | Цена | |
|---|---|---|---|---|
| КВК0602370 | КВК0602370 | Кран | Нет в продаже |
|
| 1 | FT221/1-38 | Кран | Нет в продаже |
|
| 2 | TNKHB-10G3/8 | Кран | Нет в продаже |
|
| 3 | GZ15LCF | Переходник | Нет в продаже |
|
| 4 | GE08LR3/8EDOMDCF | Штуцер | Нет в продаже |
|
| 5 | GE15LR3/8EDOMDCF | Штуцер | Нет в продаже |
|
1
2
3
4
5
Содержащиеся в справочниках-каталогах запасные части и детали носят исключительно информационный характер