Оригинальные каталоги
| № | Номер | Наименование | Цена | |
|---|---|---|---|---|
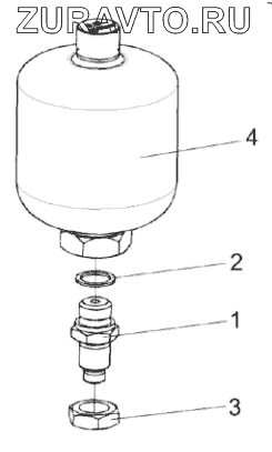
| КВК0602410 | КВК0602410 | Пневмогидроаккумулятор | Нет в продаже |
|
| 1 | СКС 0602609Б | Штуцер | Нет в продаже |
|
| 2 | Прокладка G1/2 М1-23358 | Прокладка | Нет в продаже |
|
| 3 | Гайка М20х1,5-6G-2526 | Гайка М20х1,5-6G-2526 | Нет в продаже |
|
| 4 | SBO210-0,5E1/112U-210 AK100 | Пневмогидроаккумулятор | Нет в продаже |
|
1
2
3
4
Содержащиеся в справочниках-каталогах запасные части и детали носят исключительно информационный характер