Оригинальные каталоги
| № | Номер | Наименование | Цена | |
|---|---|---|---|---|
| КВК0120430 | КВК0120430 | Сиденье | Нет в продаже |
|
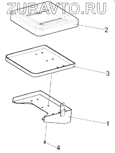
| 1 | КВК0120070 | Кронштейн сиденья | Нет в продаже |
|
| 2 | КВС-1-0129680 | Подушка сидения | Нет в продаже |
|
| 3 | КВК0120001 | Кожух | Нет в продаже |
|
| 4 | Винт В2.М8-6ех16-17475 | Винт В2.М8-6ех16-17475 | Нет в продаже |
|
1
2
3
4
Содержащиеся в справочниках-каталогах запасные части и детали носят исключительно информационный характер