Оригинальные каталоги
| № | Номер | Наименование | Цена | |
|---|---|---|---|---|
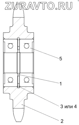
| КВС-4-3900410 | КВС-4-3900410 | Звездочка | Нет в продаже |
|
| 1 | КВС-4-3900454 | Шайба | Нет в продаже |
|
| 2 | КВС-4-3900668 | Звездочка | Нет в продаже |
|
| 3 | В47-13941 | Кольцо В47-13941 | Нет в продаже |
|
| 4 | В47-13943 | Кольцо | Нет в продаже |
|
| 5 | 160204-8882 | Подшипник 160204-8882 | Нет в продаже |
|
1
2
3
4
5
Содержащиеся в справочниках-каталогах запасные части и детали носят исключительно информационный характер