Оригинальные каталоги
| № | Номер | Наименование | Цена | |
|---|---|---|---|---|
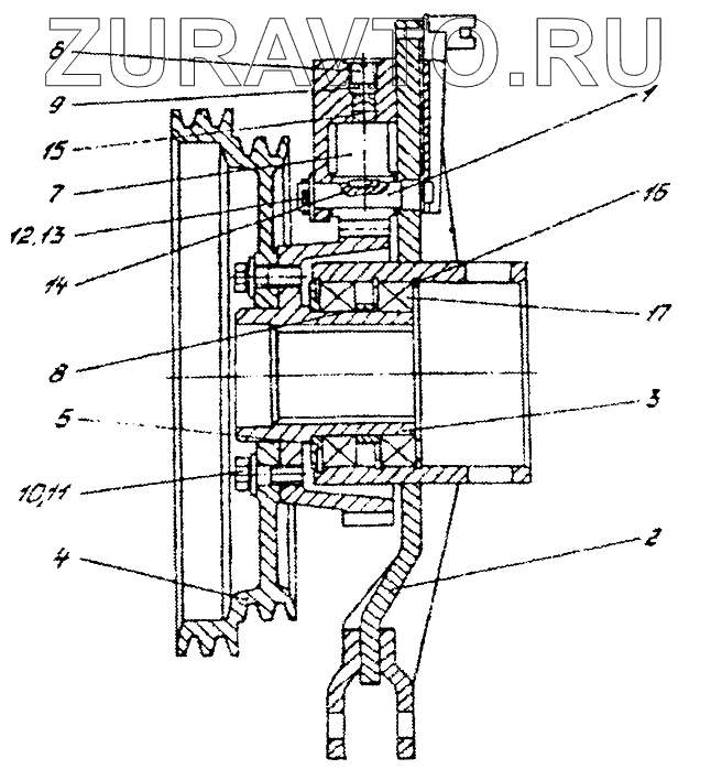
| КЗР0101010 | КЗР0101010 | Храповой механизм | Нет в продаже |
|
| 1 | КЗР0100340 | Рычаг | Нет в продаже |
|
| 2 | КЗР0101980 | Рычаг | Нет в продаже |
|
| 3 | КЗР0101990 | Храповое колесо | Нет в продаже |
|
| 4 | КЗР0101212А | Шкив | Нет в продаже |
|
| 5 | КЗР0101419Б | Шайба | Нет в продаже |
|
| 6 | КЗР0101612Б | Пробка | Нет в продаже |
|
| 7 | КЗР0101653 | Собачка | Нет в продаже |
|
| 8 | КЗР0101834 | Втулка | Нет в продаже |
|
| 9 | КЗР0201618А | Пружина | Нет в продаже |
|
| 10 | КЗР0100603А | Болт | Нет в продаже |
|
| 11 | КСН0101621 | Шайба | Нет в продаже |
|
| 12 | [Шайба С20.01-11371] | Шайба С20.01-11371 | Нет в продаже |
|
| 13 | [Шплинт 4х28-397] | Шплинт 4х28-397 | Нет в продаже |
|
| 14 | [Шпонка 6х6х18-23360] | Шпонка 6х6х18-23360 | Нет в продаже |
|
| 15 | [Шарик Б14,228-60-3722] | Шарик Б14,228-60-3722 | Нет в продаже |
|
| 16 | [Кольцо А140-13943] | Кольцо А140-13943 | Нет в продаже |
|
| 17 | [Подшипник 118-8338] | Подшипник 118-8338 | Нет в продаже |
|
1
2
3
4
5
6
7
8
9
10
11
12
13
14
15
16
17
Содержащиеся в справочниках-каталогах запасные части и детали носят исключительно информационный характер