Оригинальные каталоги
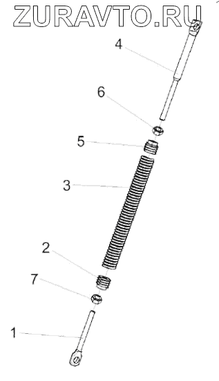
| № | Номер | Наименование | Цена | |
|---|---|---|---|---|
| КЗК 0202840А | КЗК 0202840А | Пружина | Нет в продаже |
|
| 1 | КЗК 0202683 | Зацеп | Нет в продаже |
|
| 2 | КЗР 0202102 | Пробка | Нет в продаже |
|
| 3 | КЗР 0222603А | Пружина | Нет в продаже |
|
| 4 | КЗР 0202673-01 | Зацеп | Нет в продаже |
|
| 5 | КСН 0100107-03 | Пробка | Нет в продаже |
|
| 6 | Гайка М12-6G-2526 | Гайка М12-6G-2526 | Нет в продаже |
|
| 7 | Гайка М12LH-6G-2526 | Гайка | Нет в продаже |
|
1
2
3
4
5
6
7
Содержащиеся в справочниках-каталогах запасные части и детали носят исключительно информационный характер