Назад

Оригинальные каталоги

zoom-in zoom-out enlarge shrink circle-right circle-left file-text2 info cart
Номер Наименование Цена
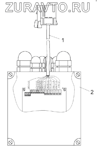
КЗК-1420-0701880 КЗК-1420-0701880 Модуль синхронизации Нет в продаже
1 КЗК-1420-0701060 Жгут модуля синхронизации Нет в продаже
2 TR-EM-239-H Контроллер Нет в продаже
1
2
100%
Содержащиеся в справочниках-каталогах запасные части и детали носят исключительно информационный характер