Оригинальные каталоги
| № | Номер | Наименование | Цена | |
|---|---|---|---|---|
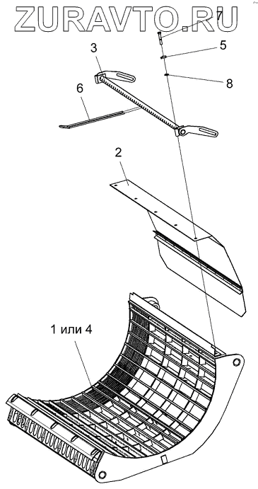
| КЗК0103000 | КЗК0103000 | Подбарабанье | Нет в продаже |
|
| КЗК0103040 | КЗК0103040 | Решетка | Нет в продаже |
|
| 1 | КЗК0103010 | Подбарабанье | Нет в продаже |
|
| 2 | КЗК0103030 | Щиток | Нет в продаже |
|
| 3 | КЗК0103060 | Каркас решетки | Нет в продаже |
|
| 4 | КЗК0103090 | Подбарабанье | Нет в продаже |
|
| 5 | КЗК0103505 | Шайба стопорная | Нет в продаже |
|
| 6 | КЗК0103607 | Палец | Нет в продаже |
|
| 7 | БолтМ10-6ех60-7796 | Болт М10-6ех60-7796 | Нет в продаже |
|
| 8 | ШайбаС.10.01-11371 | Шайба С.10.01-11371 | Нет в продаже |
|
1
2
3
4
5
6
7
8
Содержащиеся в справочниках-каталогах запасные части и детали носят исключительно информационный характер