Оригинальные каталоги
| № | Номер | Наименование | Цена | |
|---|---|---|---|---|
| КЗК0290090 | КЗК0290090 | Шкив | Нет в продаже |
|
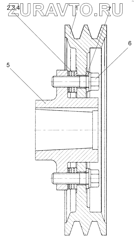
| 1 | КЗК0290101В | Шкив | Нет в продаже |
|
| 2 | КЗК0290461 | Прокладка | Нет в продаже |
|
| 3 | КЗК0290461-01 | Прокладка | Нет в продаже |
|
| 4 | КЗК0290461-02 | Прокладка | Нет в продаже |
|
| 5 | КЗК0290625 | Ступица | Нет в продаже |
|
| 6 | КЗР0202608Б-01 | Болт | Нет в продаже |
|
| 7 | УЭС0100607 | Шайба | Нет в продаже |
|
1
2
3
4
5
6
7
Содержащиеся в справочниках-каталогах запасные части и детали носят исключительно информационный характер