Оригинальные каталоги
| № | Номер | Наименование | Цена | |
|---|---|---|---|---|
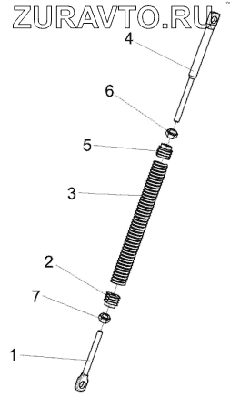
| КЗК0202850А-02 | КЗК0202850А-02 | Пружина | Нет в продаже |
|
| 1 | КЗК0202683 | Зацеп | Нет в продаже |
|
| 2 | КЗР0202105 | Пробка | Нет в продаже |
|
| 3 | КЗР0202621А | Пружина | Нет в продаже |
|
| 4 | КЗР0202673-01 | Зацеп | Нет в продаже |
|
| 5 | КПР6108101 | Пробка | Нет в продаже |
|
| 6 | ГайкаМ12-6G-2526 | Гайка М12-6G-2526 | Нет в продаже |
|
| 7 | ГайкаМ12LH-6G-2526 | Гайка М12LH-6G-2526 | Нет в продаже |
|
1
2
3
4
5
6
7
Содержащиеся в справочниках-каталогах запасные части и детали носят исключительно информационный характер