Оригинальные каталоги
| № | Номер | Наименование | Цена | |
|---|---|---|---|---|
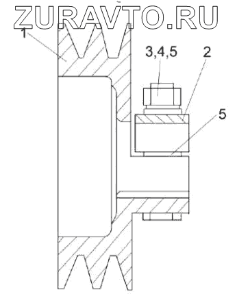
| УЭС-7-0170110 | УЭС-7-0170110 | Шкив | Нет в продаже |
|
| 1 | УЭС-7-0170102 | Шкив | Нет в продаже |
|
| 2 | УЭС-7-0170616 | Прижим | Нет в продаже |
|
| 3 | УЭС-7-0170617 | Болт | Нет в продаже |
|
| 4 | УЭС 0100602 | Гайка | Нет в продаже |
|
| 5 | УЭС 0100607 | Шайба | Нет в продаже |
|
1
2
3
4
5
5
Содержащиеся в справочниках-каталогах запасные части и детали носят исключительно информационный характер