Оригинальные каталоги
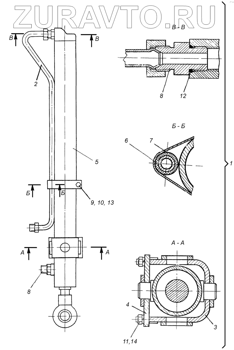
| № | Номер | Наименование | Цена | |
|---|---|---|---|---|
| 1 | 151Д-1.01.12.000 | Гидроцилиндр | Нет в продаже |
|
| 2 | 151Д-1.01.12.010 | Трубопровод | Нет в продаже |
|
| 3 | Д3-42Г.03.04.10 | Рамка | Нет в продаже |
|
| 4 | Д3-42Г.03.04.20 | Крышка | Нет в продаже |
|
| 5 | У4565.80/50.2.000.100 0 | Гидроцилиндр | Нет в продаже |
|
| 6 | Д-535.08.012 | Прокладка | Нет в продаже |
|
| 7 | Д-606.05.00.05 | Хомут | Нет в продаже |
|
| 8 | Д3-42Г.05.00.001 | Штуцер | Нет в продаже |
|
| 9 | М10х35.7796 | Болт | Нет в продаже |
|
| 10 | М10.5915 | Гайка | Нет в продаже |
|
| 11 | М12.5915 | Гайка | Нет в продаже |
|
| 12 | 023-028-30-2-2.9833 | Кольцо | Нет в продаже |
|
| 13 | 10 65Г.6402 | Шайба | Нет в продаже |
|
| 14 | 12 65Г.6402 | Шайба | Нет в продаже |
|
1
2
3
4
5
6
7
8
8
9
10
11
12
13
14
Содержащиеся в справочниках-каталогах запасные части и детали носят исключительно информационный характер