Оригинальные каталоги
| № | Номер | Наименование | Цена | |
|---|---|---|---|---|
| 20.65Г.019 ГОСТ 6402 | 20.65Г.019 ГОСТ 6402 | Шайба | Нет в продаже |
|
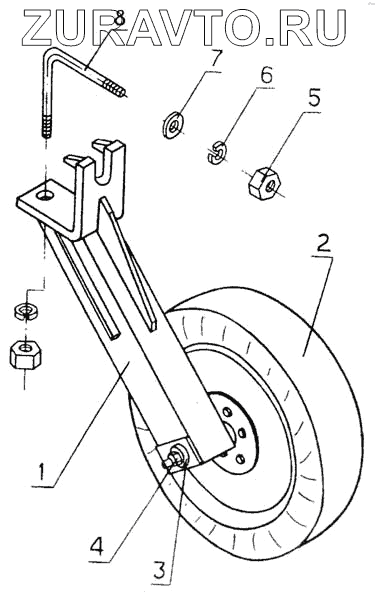
| 1 | КРН 46.030 | Кронштейн | Нет в продаже |
|
| 2 | Н 130.02.000 | Колесо с шиной | Нет в продаже |
|
| 3 | КЛТ 00.201 | Шайба | Нет в продаже |
|
| 4 | М20-6Н.6.019 ГОСТ 5915 | Гайка | Нет в продаже |
|
| 5 | М20-6Н.6.019 ГОСТ 5915 | Гайка | Нет в продаже |
|
| 6 | 20.65Г.019 ГОСТ 6402 | Шайба | Нет в продаже |
|
| 7 | С20.01.10.019 ГОСТ 11371 | Шайба | Нет в продаже |
|
| 8 | 5М20х175х175/40.56Ц9хрОС 23.2.10 | Скоба | Нет в продаже |
|
1
2
3
4
5
6
7
8
Содержащиеся в справочниках-каталогах запасные части и детали носят исключительно информационный характер