Назад

Оригинальные каталоги

zoom-in zoom-out enlarge shrink circle-right circle-left file-text2 info cart
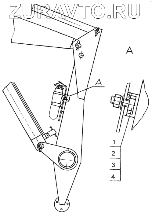
Номер Наименование Цена
1 ПС 00.601 Болт специальный Нет в продаже
2 Гайка М6-6Н.6.019 {ГОСТ 5915-70} Гайка М6-6Н.6.019 {ГОСТ 5915-70} Нет в продаже
3 Шайба 6.65Г019 {ГОСТ 6402-80} Шайба 6.65Г019 {ГОСТ 6402-80} Нет в продаже
4 Шайба 6.01.10.019 {ГОСТ 11371-78} Шайба 6.01.10.019 {ГОСТ 11371-78} Нет в продаже
1
2
3
4
100%
Содержащиеся в справочниках-каталогах запасные части и детали носят исключительно информационный характер