Оригинальные каталоги
| № | Номер | Наименование | Цена | |
|---|---|---|---|---|
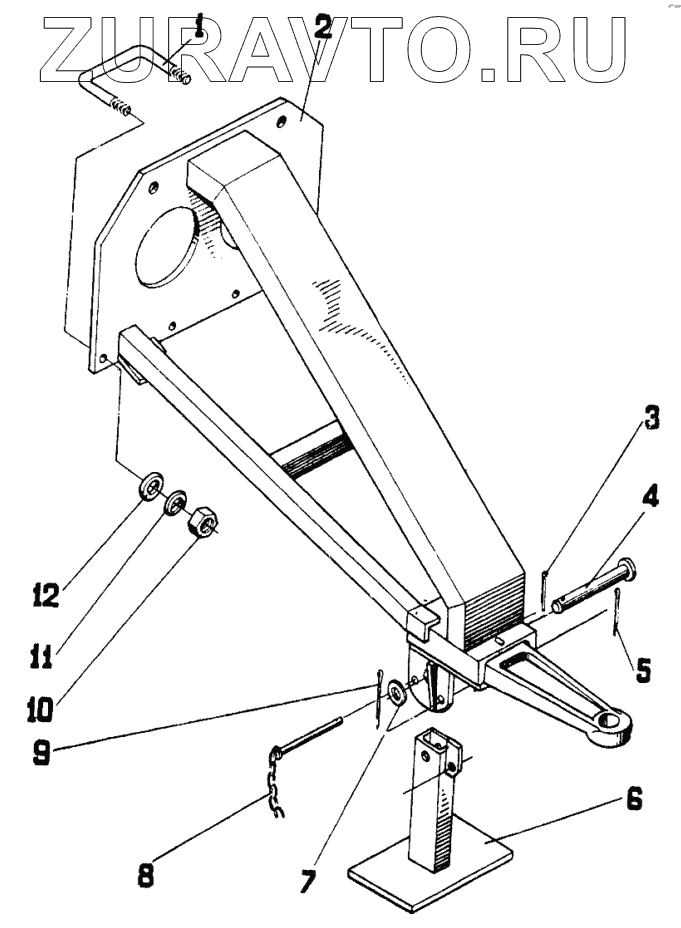
| СПС11000 | СПС11000 | Прицепное устройство | Нет в продаже |
|
| 1 | СПС11601 | Хомут | Нет в продаже |
|
| 2 | СПС11010 | Прицепное устройство | Нет в продаже |
|
| 3 | [Шплинт 3,2х20019 ГОСТ397-79] | Шплинт 3,2х20019 ГОСТ397-79 | Нет в продаже |
|
| 4 | СПС11602-19 | Ось | Нет в продаже |
|
| 5 | [Шплинт 6,3х45019 ГОСТ397-79] | Шплинт 6,3х45019 ГОСТ397-79 | Нет в продаже |
|
| 6 | СПС11020 | Опора | Нет в продаже |
|
| 7 | [Шайба С.20х2,5.09Г2С.019 ГОСТ11371-68] | Шайба С.20х2,5.09Г2С.019 ГОСТ11371-68 | Нет в продаже |
|
| 8 | СПС11030 | Фиксатор | Нет в продаже |
|
| 9 | [Шплинт 5х28.019 ГОСТ397-79] | Шплинт 5х28.019 ГОСТ397-79 | Нет в продаже |
|
| 10 | [Гайка М16-6Н.6.019 ГОСТ5915-70] | Гайка М16-6Н.6.019 ГОСТ5915-70 | Нет в продаже |
|
| 11 | [Шайба 16.65Г.05 ГОСТ6402-70] | Шайба 16.65Г.05 ГОСТ6402-70 | Нет в продаже |
|
| 12 | [Шайба С.16х02.019 ГОСТ11371-78] | Шайба С.16х02.019 ГОСТ11371-78 | Нет в продаже |
|
СПС11000
1
2
3
4
5
6
7
8
9
10
11
12
Содержащиеся в справочниках-каталогах запасные части и детали носят исключительно информационный характер