Оригинальные каталоги
| № | Номер | Наименование | Цена | |
|---|---|---|---|---|
| 270125440 | 270125440 | Washer CEM for M16 small | Нет в продаже |
|
| 270125430 | 270125430 | Bearing bushing CEM | Нет в продаже |
|
| 270125320 | 270125320 | Clamp tail pipe | Нет в продаже |
|
| 270125420 | 270125420 | Washer CEM for M16 | Нет в продаже |
|
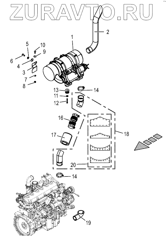
| 1 | 200167080 | Exhaust module for C13 | Нет в продаже |
|
| 2 | 200167480 | Tail pipe | Нет в продаже |
|
| 3 | 200168970 | Support | Нет в продаже |
|
| 4 | 009106030 | Washer | Нет в продаже |
|
| 5 | 009099081 | Detent edged washer | Нет в продаже |
|
| 6 | 009006120 | Hex head bolt | Нет в продаже |
|
| 7 | 009099091 | Detent edged washer | Нет в продаже |
|
| 8 | 009087580 | Locknut | Нет в продаже |
|
| 9 | 900001210 | Washer | Нет в продаже |
|
| 10 | 009006360 | Hex head bolt | Нет в продаже |
|
| 11 | 009099121 | Detent edged washer | Нет в продаже |
|
| 12 | 009011421 | Hex head bolt | Нет в продаже |
|
| 13 | 270125450 | Rubber bearing CEM | Нет в продаже |
|
| 14 | 270125380 | Clamp | Нет в продаже |
|
| 16 | 270125370 | Flexi pipe with clamps | Нет в продаже |
|
| 17 | 270125390 | Heat protection for tube | Нет в продаже |
|
| 18 | 200167490 | Exhaust pipe with compensator-incl. insulating collar | Нет в продаже |
|
| 19 | 200169170 | Insulating jacket ATL nozzle | Нет в продаже |
|
| 20 | 270126980 | Insulating sleeves exhaust pipe CAT | Нет в продаже |
|
1
2
3
4
5
6
7
8
9
10
11
12
13
14
14
16
17
18
19
20
Содержащиеся в справочниках-каталогах запасные части и детали носят исключительно информационный характер