Оригинальные каталоги
| № | Номер | Наименование | Цена | |
|---|---|---|---|---|
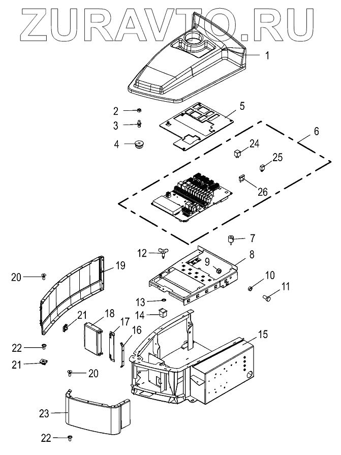
| 1 | 202287390 | Cover console mounted | Нет в продаже |
|
| 2 | 009082080 | Hex nut | Нет в продаже |
|
| 3 | 900015780 | Ball pin | Нет в продаже |
|
| 4 | 900015790 | Clutch | Нет в продаже |
|
| 5 | 202242890 | Cover circuit board mounted | Нет в продаже |
|
| 6 | 200823713 | Circuit board central elect. system cpl. | Нет в продаже |
|
| 7 | 202236960 | Rubber pad | Нет в продаже |
|
| 8 | 200165240 | Support | Нет в продаже |
|
| 9 | 009087060 | Locknut | Нет в продаже |
|
| 10 | 202212810 | Bushing | Нет в продаже |
|
| 11 | 009006120 | Hex head bolt | Нет в продаже |
|
| 12 | 200295690 | Quick coupler | Нет в продаже |
|
| 13 | 270001320 | Circlip | Нет в продаже |
|
| 14 | 270001330 | Quick coupler | Нет в продаже |
|
| 15 | 202236360 | Computer console | Нет в продаже |
|
| 16 | 003025840 | Bracket | Нет в продаже |
|
| 17 | 003025830 | Bracket | Нет в продаже |
|
| 18 | 200835170 | ECU | Нет в продаже |
|
| 19 | 202236510 | Enclosure console lateral | Нет в продаже |
|
| 21 | 200275660 | Sheet nut | Нет в продаже |
|
| 22 | 009047720 | Fillister head screw | Нет в продаже |
|
| 23 | 202236520 | Enclosure console front | Нет в продаже |
|
| 24 | 200851620 | Relay changeover changer | Нет в продаже |
|
| 25 | 200833590 | Relay changeover contact | Нет в продаже |
|
| 26 | 003018560 | Flat fuse | Нет в продаже |
|
| 26 | 003020760 | Flat fuse | Нет в продаже |
|
| 26 | 003021940 | Flat fuse | Нет в продаже |
|
| 26 | 003020740 | Flat fuse | Нет в продаже |
|
| 26 | 003019770 | Flat fuse | Нет в продаже |
|
| 26 | 200833580 | ATO-flat fuse | Нет в продаже |
|
| 26 | 003031980 | Flat fuse | Нет в продаже |
|
| 26 | 200819650 | ATO Flat fuse | Нет в продаже |
|
| 26 | 003032010 | Flat fuse | Нет в продаже |
|
1
2
3
4
5
6
7
8
9
10
11
12
13
14
15
16
17
18
19
21
21
22
22
23
24
25
26
Содержащиеся в справочниках-каталогах запасные части и детали носят исключительно информационный характер