Оригинальные каталоги
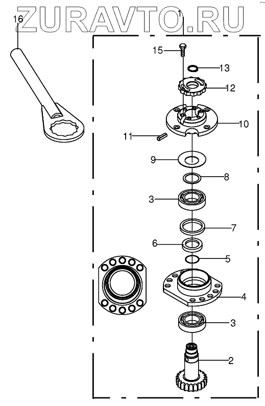
| № | Номер | Наименование | Цена | |
|---|---|---|---|---|
| 1 | 200311291 | Bearing housing-left hand direction of rotation | Нет в продаже |
|
| 1 | 200311281 | Bearing housing-right hand direction of rotation | Нет в продаже |
|
| 2 | 200311370 | Spur pinion shaft-left hand direction of rotation | Нет в продаже |
|
| 2 | 200311330 | Spur pinion shaft-right hand direction of rotation | Нет в продаже |
|
| 3 | 009303410 | Grooved ball bearing | Нет в продаже |
|
| 4 | 002530243 | Bearing housing-Changing | Нет в продаже |
|
| 5 | 009375020 | O-ring | Нет в продаже |
|
| 6 | 002530265 | Spacer ring | Нет в продаже |
|
| 7 | 009360491 | Radial-shaft sealing ring | Нет в продаже |
|
| 8 | 009111330 | Shim ring | Нет в продаже |
|
| 9 | 002530281 | Spring washer | Нет в продаже |
|
| 10 | 200311232 | Rotor hub | Нет в продаже |
|
| 11 | 009125300 | Roll pin | Нет в продаже |
|
| 11 | 009126432 | Roll pin | Нет в продаже |
|
| 12 | 200311360 | Nut-left hand direction of rotation | Нет в продаже |
|
| 12 | 200311340 | Nut-right hand direction of rotation | Нет в продаже |
|
| 13 | 009115290 | Circlip | Нет в продаже |
|
| 15 | 900018630 | Hex head bolt | Нет в продаже |
|
| 16 | 200311440 | Key | Нет в продаже |
|
1
1
2
2
3
3
4
5
6
7
8
9
10
11
11
12
12
13
15
16
Содержащиеся в справочниках-каталогах запасные части и детали носят исключительно информационный характер